TMT Pappilon kapumozgató Szett: Csendes és Modern Automatizálás Szárnyas Kapukhoz
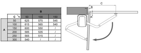
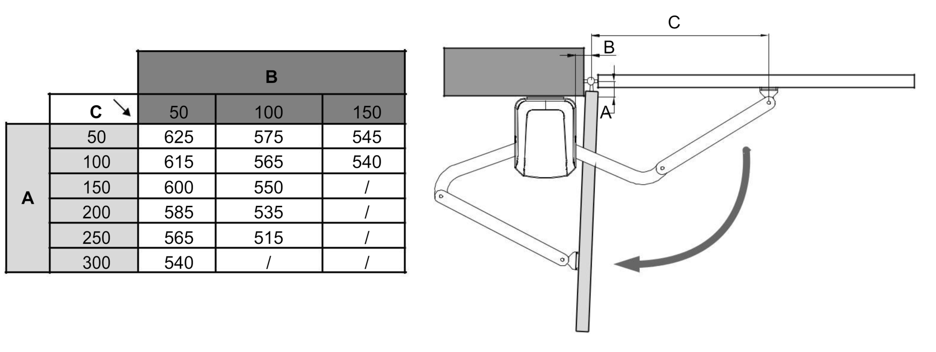
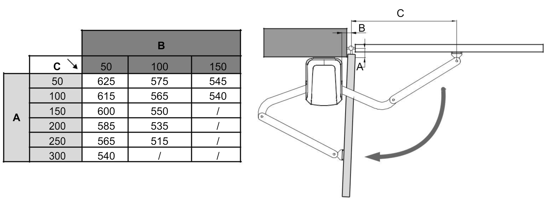
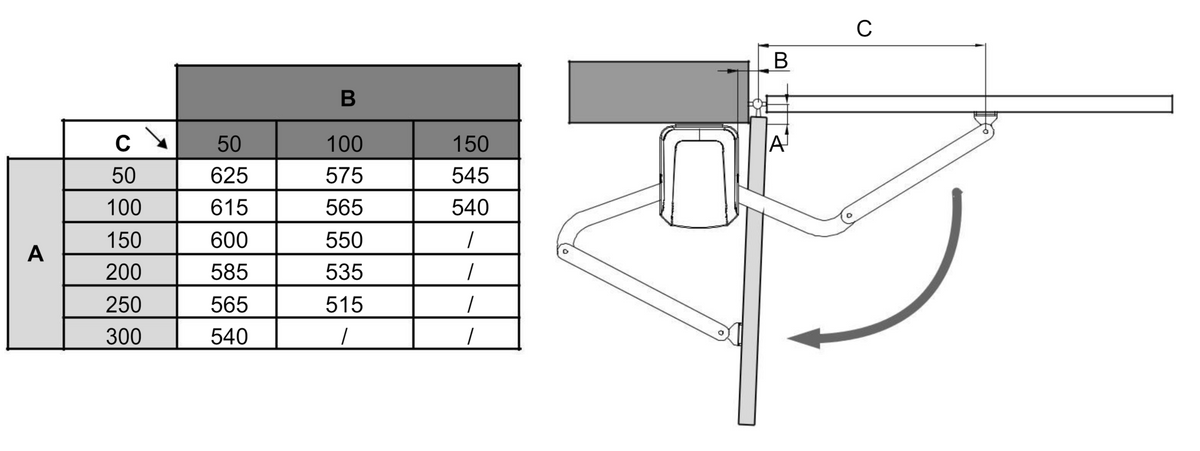
Az TMT Pappilon szárnyas kapumozgató szett 250 kg maximális kapusúlyú, 30 cm mélyen ülő és 2,5 m széles kapuszárnyakhoz készült, 24 V DC tápellátással. A szett tartalmaz 2db motort, fotocellát, két távirányítót, AKKU pakkot és vezérlést, 120°-os maximális nyitási szöggel.
Precíz és Csendes
Az ultracsendes motor a gyalogos nyitás funkció és az önállóan tanuló nyitott/zárt távolságok rugalmas és kényelmes használatot kínálnak.
Egyszerű Telepítés
A csavaros tartó gyors és egyszerű telepítést tesz lehetővé, a kulcsos nyitórendszer pedig áramkimaradás esetén is könnyű működtetést biztosít. A vezérlő belsejébe van 2db 12V akkumulátor ami áramszünet esetén 20 nyitási ciklust tesz lehetővé.
A kompakt motor és a vezérlés minimalizálja a telepítési időt, alkalmazkodva a különböző kapukonfigurációkhoz. Gyors programozás, egyszerű önálló tanulási eljárás
Sokoldalú Alkalmazás
Ez a szett ideális lakossági könnyű szerkezetű szárnyas kapukhoz, ahol a csendes működés, a modern design elengedhetetlen. Az TMT minőségi szabványai garantálják a megbízható teljesítményt. Komplett kapunyitó rendszer, kapuk 2 x 2.5 méteres es 2 x 250 kg, IOS / Android telefonról vagy táblagépről is működtethető a CHOW applikációval!

IOS / Android telefonról vagy táblagépröl is múködtethetö aCHOW applikációval! Az applikációval müködési paramétereketbeállitását és távoli programozás is lehetséges, így nem kellkimenni a helyszínre a telepítönek a javításhoz.
✅ Távoli beállítási példák:
- Végállás állítás
- Motor működési paraméterek beállítás
- Távirányítók hozzáadása és törlése
- Felhasználó hozzáadása, törlése
- Távoli működtetés
- Teljes újraprogramozás
- stb...
Automatizálja szárnyas kapuját az TMT-Pappilon szettel! Rendelje meg most, és élvezze a csendes és modern működést!
Jótállás
Tudjuk, hogy a minőség kulcsfontosságú – épp ezért minden általunk forgalmazott termékre érvényes garanciánkat az ÁSZF oldalunkon tudja megtekinteni.
Mit jelent ez a gyakorlatban?
Ha a terméked a rendeltetésszerű használat mellett hibásnak bizonyul, vagy a leírásban szereplőktől eltérően működik, a jótállás keretén belül jogosult vagy a javításra, cserére vagy más megoldásra – természetesen a hatályos jogszabályokkal összhangban.
Fontos:
– A jótállás csak a nem rendeltetésszerű használatból eredő meghibásodásokat nem fedi.
– A vásárlást igazoló számla vagy nyugta megőrzése kötelező a garancia érvényesítéséhez.
– Egyes gyártók külön jótállási levelet is mellékelnek, ezt is érdemes eltenni.
Mi a teendőd jótállási probléma esetén?
Csak vedd fel velünk a kapcsolatot, és segítünk. Minden esetet egyedileg kezelünk, célunk pedig mindig az, hogy a lehető leggyorsabban és legkorrektebben megoldjuk a problémát.
Vásárlás előtt – Fontos tudnivalók
Szeretnénk, ha teljesen biztos lehetnél abban, hogy a megfelelő terméket rendeled meg. Ezért kérünk, szánj rá néhány percet az alábbi pontok átnézésére:
1. Ellenőrizd a termék részleteit:
A termékleírásban minden elérhető információt feltüntettünk: méretek, típus, kompatibilitás, működési elv vagy csatlakozási mód. Ha bármi nem egyértelmű, vagy nem vagy biztos benne, hogy ez a megfelelő választás, kérdezz bátran – gyorsan válaszolunk!
2. A képek illusztrációk is lehetnek:
Bár törekszünk arra, hogy minden kép pontosan tükrözze a valóságot, a gyártók időnként apróbb változtatásokat eszközölnek a csomagoláson vagy dizájnon. A legfontosabb azonban mindig a termékleírás.
3. Árak és készletinformációk:
A feltüntetett árak forintban értendők, és tartalmazzák az ÁFÁ-t. A raktárkészletet valós időben mutatjuk, de nagy forgalom esetén előfordulhat, hogy a termék időközben elfogy – ilyen esetekben természetesen azonnal felvesszük veled a kapcsolatot.
4. Szállítás és kiszállítási idő:
Minden termék mellett feltüntetjük az átlagos feldolgozási időt, ami jellemzően 1–2 munkanap. A szállítási idő a futárszolgálattól függően változhat, de általában 1–3 munkanapon belül megérkezik a csomag. Kérjük, vedd figyelembe, ha sürgős a rendelésed!
5. Hibás termék vagy tévedés esetén:
Ha véletlenül nem azt kaptad, amit rendeltél, vagy a termék hibás, azt természetesen díjmentesen cseréljük. Kérjük, őrizd meg a csomagolást és jelezd nekünk 14 napon belül.
6. Rendelés leadása előtt:
Mielőtt véglegesíted a rendelésed, kérjük, ellenőrizd a szállítási és számlázási adatokat. Ez segít elkerülni a kellemetlenségeket a kézbesítés során.